Comment connecter et installer correctement les antennes de l’amplificateur réseau
La connexion correcte de l'antenne est cruciale pour la performance optimale de votre amplificateur de signal. Une installation incorrecte peut entraîner une mauvaise réception du signal, une auto-oscillation ou une couverture réduite. Suivez ce guide pour connecter et installer correctement les antennes extérieures et intérieures de votre système.
Qu'est-ce qui est inclus dans un kit standard?
Un kit d’amplificateur typique se compose des éléments suivants :
Antenne extérieure – peut être :
- Antenne directionnelle log-périodique (LPDA) ou Antenne panneau pour les amplificateurs à domicile.
- Antenne omnidirectionnelle magnétique pour les amplificateurs de véhicule
- et
- Antenne de bateau omnidirectionnelle pour les amplificateurs marins.
 Câble extérieur – Connecte l’antenne extérieure au boîtier d’amplificateur.
Les longueurs standard varient de 10 à 20 mètres, mais peuvent être ajustées selon les besoins des consommateurs.
Boîtier d’amplificateur – Le dispositif central qui amplifie le signal.
Câble intérieur – Connecte l’antenne intérieure au boîtier d’amplificateur. La longueur standard est de 5 mètres, mais elle peut être raccourcie ou rallongée si nécessaire. Certains modèles de base pour une petite couverture peuvent ne pas nécessiter de câble intérieur.
Antenne intérieure – peut être :
- Antenne de plafond ou de panneau (connectée via un câble).
- Antenne fouet (vissé directement dans le boîtier d’amplificateur sans câble).
Comprendre les ports d'antenne de l’amplificateur
Différents modèles d’amplificateurs ont des désignations de port différentes. Voici ce qu'elles signifient:
- BS ou Outdoor – Connecte à l’antenne extérieure.
- MS / Indoor – Connecte à l’antenne(s) intérieure(s).
- DC – Pour la connexion à l'alimentation électrique.
Certains modèles disposent de deux ports intérieurs, permettant l'utilisation de 2 antennes intérieures simultanément. Dans ce cas :
- MS1 (port plus fort) – Idéal pour les antennes de plafond et de panneau avec des câbles plus longs.
- MS2 – Convient pour une antenne fouet ou une deuxième antenne panneau/plafond avec un câble plus court.
* Remarque : si votre zone de couverture est petite et que la distance entre 2 antennes intérieures est inférieure à 5 mètres, utilisez une seule antenne intérieure pour éviter les interférences de signal.
Schémas d'installation:
Kit d’amplificateur avec une antenne intérieure :
Kit d’amplificateur avec deux antennes intérieures:
Installation dans une véhicule ou camionnette :
* Ces schémas illustrent une installation possible dans une camionnette ou une voiture. L'emplacement des antennes extérieure et intérieure peut varier en fonction de vos besoins et des caractéristiques de votre véhicule. Pour éviter toute oscillation du signal, assurez-vous que les deux antennes sont distantes d'au moins 3 mètres.
Installation sur un navire/bateau
* Les antennes extérieure et intérieure peuvent être installées à différents endroits, en fonction de vos besoins et des caractéristiques de votre bateau.
Attention! Pour éviter les oscillations du signal, il est important que les deux antennes soient séparées d'au moins 8 mètres.
Garantir un bon isolement de l’antenne avant d’allumer l’amplificateur
Avant d'allumer l'amplificateur, vérifiez le bon placement de l'antenne pour éviter les problèmes d'auto-oscillation (boucles de rétroaction) et les interférences :
Maintenez une distance minimale entre les antennes :
- Antenne extérieure vers antenne intérieure: Au moins 8 mètres horizontalement et 1,5 mètre verticalement. Si le signal extérieur est fort, il est recommandé d'augmenter cette distance. Un signal d'entrée plus fort nécessite une plus grande séparation pour des performances optimales.
- Antenne intérieure vers antenne intérieure : Au moins 3 à 5 mètres de distance pour éviter les interférences de signal. Si votre zone de couverture est petite et que la distance entre 2 antennes intérieures est inférieure à 5 mètres, utilisez une seule antenne intérieure pour éviter les interférences du signal.
Placez les antennes correctement:
- Idéalement placée sur le toit en ligne de mire avec la tour cellulaire la plus proche.
  
- Ne placez jamais les antennes extérieure et intérieure l’une en face de l’autre.
- Utilisez des obstacles tels que des murs, des plafonds ou des barrières métalliques pour bloquer les chemins de signaux directs.
- Dirigez les antennes dans des directions opposées ou nettement différentes.
* Pour obtenir des instructions détaillées sur la manière d'orienter et de positionner correctement l'antenne extérieure, consultez notre Guide de positionnement des antennes.
Comment installer les antennes
Installation de l’antenne extérieure
Antenne LPDA:
Doit être installée sur un poteau.
Assurez-vous que l'antenne est montée verticalement et que la flèche rouge sur le boîtier de l'antenne pointe vers le haut.
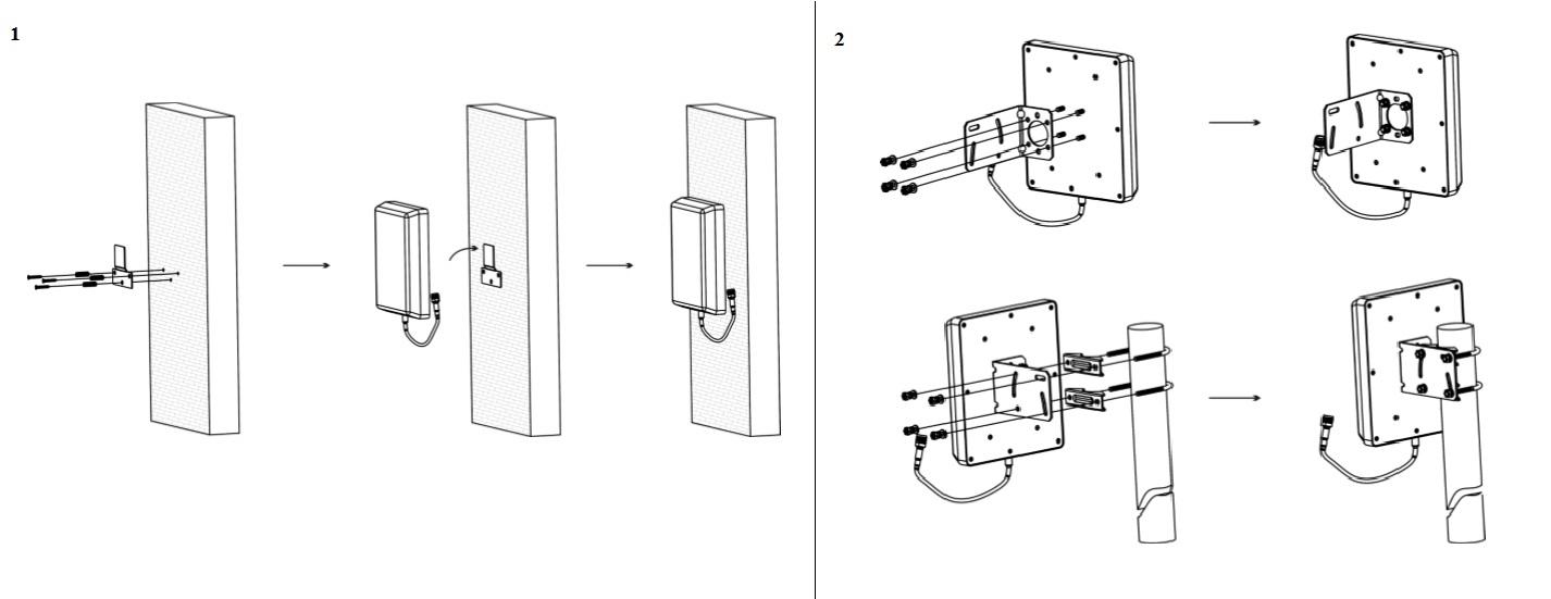
Antenne de panneau:
- Peut être fixée au mur ou sur un poteau.
- Positionnez-la le plus haut possible pour une meilleure réception du signal.
Faites attention à la position verticale de l'antenne panneau. Le câble doit être orienté vers le bas.
Installation de l’antenne intérieure
Antenne de plafond:
- Idéal pour les grands espaces ouverts, les maisons ou les bureaux.
- Placez-la au centre d’une pièce pour une distribution uniforme du signal.
Antenne panneau:
- Idéal pour les espaces longs et étroits (couloirs, vestibules, etc.).
- Installez sur un mur, tout comme une antenne de panneau extérieure.
- Dirigez-la vers la zone où une amélioration du signal est nécessaire.

Conseils pour de meilleures performances
- Évitez de plier ou de pincer excessivement les câbles pour assurer une transmission optimale du signal.
  
- S'il reste du câble en excès, enroulez-le soigneusement ou raccourcissez-le.
- Isolez les connecteurs extérieurs de l’humidité à l’aide de ruban électrique standard pour une meilleure protection.
  
- Lors de l'assemblage du système, vérifiez l'intégrité des connecteurs pour éviter les problèmes de connexion.
- En cas d'interférence, ajustez légèrement la position des antennes pour trouver la meilleure configuration.
















